Extension arm for big BM


Extension arm for machines with big bm attachment. The extension arm is designed to achieve a significantly higher tipping height than the existing machine already has. With the extension arm, you do not have to limit yourself to only being able to use a high tipping bucket to load an extra high truck. The extension arm can be combined with all implements that use the big bm attachment. This makes it possible to stack bales at a higher height, for example.

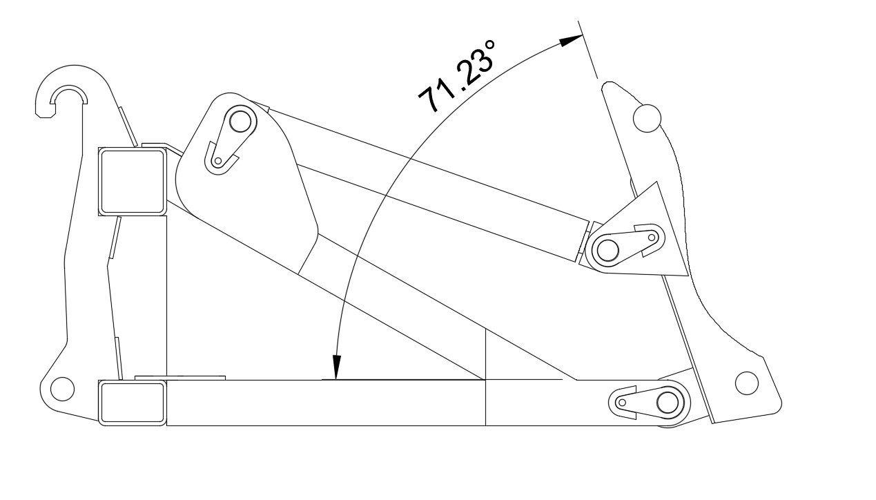
The hydraulic extension arm extends the hitch 1500mm while offering a tipping angle of approximately 190 degrees at the front and 70 degrees at the rear when the implement is horizontal.

  • Bracket: big bm.

    Extension: 1500mm.

    Front tilt angle: approx. +10 degrees.

    Rear tilt angle: about -20 degrees.

OFFER / PRICE